Bejelentkezés

Friss hozzászólások

Une calculatrice, ou calculette, est une machine concue pour simplifier, et fiabiliser, des operations de calculs.
Nyomtatóbarát változatPDF változat

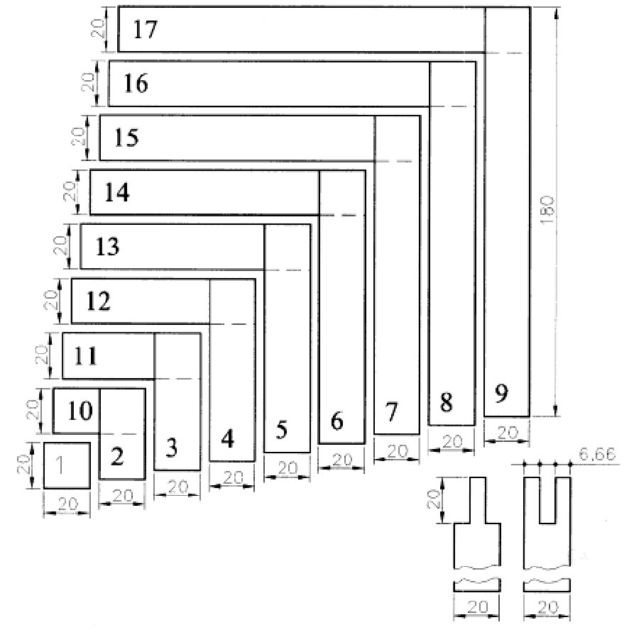
Térbeli konstrukciós játék. Lényege, hogy a derékszögben ollós csapozással összeépített darabok egymásba illeszkednek. A darabok egyre csökkenő hosszméretűek. A kilenc darab derékszögű elemből igen változatos formák építhetők. A formák szépségét fokozza, hogy az egyes elemek színei egymástól árnyalatnyilag különböznek. A tároló doboz kialakítása nyitott fecskefark alakú fogazással épül össze.

A játék alapja az egymásba illeszkedő ollós csappal összeépített derékszögű elemek. Az elemek anyaga fenyő fűrészáru. Keresztmetszeti mérete 40x40 (mm). Az elemek kiinduló alapja egy 40x40 (mm)-es kocka. A következő elem 40 mm-el hosszabb szárral készülnek. Az ollós csap 1/3-os csapkiosztással készül. Ilyen módon kilenc egymásba illeszkedő elem kerül kialakításra. A tároló doboz oldalainak anyaga fenyő fűrészáru. Keresztmetszeti mérete 73x12 mm. Az oldalak összeépítése nyitott fecskefark alakú fogazással történik. A fakötés megerősítésére ragasztás szolgál.

Az oldalak belső, alsó lapján egy 6x 4 mm-es árok került kialakításra. Ebbe az árokba kerül elhelyezésre a fenéklemez. A fenéklemez anyaga 3,5 mm-es farostlemez. Az oldalak belső, felső részén az alacsony oldal felső síkjában egy 6x4 mm-es árkolás készül a becsúsztatható fedéllap részére. A fedéllap anyaga 4 mm-es rétegelt lemez. A fedéllapra szitanyomással ábra kerül elkészítésre.

Felületkezelés
Tárolódoboz: natúr kivitelű, felületkezelő anyag BIRDY Bio méhviasz.
Játékelemek: színes kivitelűek, felületkezelő anyag TIKURILA Dicoplast festék, különböző árnyalatban.

Berente László, a Nyugat-Magyarországi Egyetem Faipari Mérnöki Karán tanuló hallgató munkája, amelyet a "Fajátékkészítés" fakultatív tárgy keretében készített

Angulár vagy derékszögek
Beküldő: 
Szikora Imre
Nehézségi fok: 
közepes
Szükséges eszközök: 
fenyő deszka, ragasztó
Szerszámok: 
kézifűrész
CsatolmányMéret
szabas-minta.jpg84.34 kB
nagykep.jpg42.19 kB
minta.jpg30.72 kB
kesz-mu.jpg36.77 kB
doboz.jpg25.97 kB
alakzatok.jpg193.55 kB